电话:029-65693588    029-65693599    18092387696

地址:凤城二路海璟国际B2座9层

二维码
您当前位置:首页 > 产品中心 > 集成装置

产品中心

地址:凤城二路海璟国际B2座9层
联系人:杨经理
电话:029-65693588    029-65693599
18092387696
传真:029-65693456

XKQS气液分离器(国家专利:ZL200520079441.1)

发布日期:(2017-5-5)   点击次数:2133

XKQS气液分离器

设备用途

油田采出油气两相初分离,分卧式和立式。

设备规格

型号及规格

公称容积(m3

处理液量(〈m3/d

处理气量

(〈×104 m3/d

主体材料

XKQS 1.0×4.0—0.6

2.8

1200

5

Q345R

XKQS 1.2×4.8—0.6

4.8

2800

6

Q345R

XKQS 1.6×5.6—0.6

9.6

4800

10

Q345R

XKQS 2.0×7.2—0.6

20

8600

15

Q345R

XKQS 2.4×8.4—0.6

35

21000

20

Q345R

XKQS 2.8×8.4—0.6

50

25000

25

Q345R

XKQS 3.0×9.6—0.6

60

28000

30

Q345R

XKQS 3.0×12—0.6

80

38000

50

Q345R

XKQS 3.0×15.1—0.6

100

48000

60

Q345R

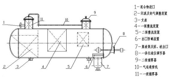
卧式结构示意



卧式主要技术指标、操作参数及性能特点

1.操作介质:油气水混合物;

2.操作温度:依处理介质特性确定;

3.操作压力:依系统工作压力确定;

4.进口气液比:无要求;

5.出口气中带液率:0.02g/m3;

6.除雾粒径 > 5 μm

7.系统压降 < 0.02 MPa

8.设备型式:卧式或立式;

9.压力、液位、流量控制可根据用户要求采用自动控制,机械控制。

10.XKQS型气液分离器在新疆克拉玛依油田有多年的生产应用。

立式结构示意

 

 

立式主要技术指标、操作参数及性能特点

1.采用来液旋流同心板整流预分离技术,实现对气液的初分离,与传统设备相比,大大降低了设备内的气体流速,抑止了设备内液面起浪和气体对液体的二次夹带,稳定了设备内气、液流场,提高了设备处理能力;

2.采用闪蒸及析气调整装置,使溶解气得以最大限度的析出,同时兼具良好的稳流和整流作用,能够有效地降低出口的液中带气率和气中带液率,且对段塞流具有良好的抑制和流型调整作用;

3.采用两级整流装置,对气中含液量不同和液滴粒径不同的气体进行逐级处理;

4.采用不同功能和不同结构的整流聚结元件,加大了气液的处理深度,给气体处理创造了良好的分离和流场环境;

5.采用强化聚结材料增加液滴碰撞聚结机率,稳定了流动状态,提高分离效率;

6.采用了散堆填料和滤芯式相结合的结构元件,增大了对液体的润湿性能,实现了对雾状液滴的有效捕集;

7.采用外置式除气装置,有效地控制了进入设备内的气体量;

8.液体的排出方式可选用:自力式控制、气动或电动控制。

9. 卧式设备方案具有结构设置灵活,便于操作和维护,占地面积大;立式设备方案具有占地面积小、空间利用合理的优点,设备投资较卧式高;

10. 我公司与其它气液分离器产品比较:根据对内径为Φ1000mm的分离器在相同工况条件下处理5×104 m3/d)气体的流速计算,其设备内气体流速为:XKQS型气液分离器(0.076m/s, 双筒式天然气分离器(0.737m/s, 过滤型天然气分离器(0.761m/s)。气体流速的高低将直接影响流场稳定、二次夹带率及分离指标。

上一篇:降凝剂加药装置 下一篇:XKS四相高效油气水(砂)分离器(国家专利:ZL200520079440.7)
网站首页 关于我们 产品中心 新闻中心 人才招聘 联系我们
联系我们

TEL:029-65693588    029-65693599    18092387696

ADDRESS:凤城二路海璟国际B2座9层

FAX : 029-65693456

关注我们

微信公众号关注我们

二维码
版权所有:西安华油兴科技术开发有限公司   备案号:陕ICP备12007230号-1  技术支持:动力无限